BBC SWP,V-BELT TOP BRACKET KIT,POL,ALTERNATOR
BBC SWP,V-BELT TOP BRACKET KIT,POL,ALTERNATOR
SKU:BSI 10520
Yes, we have this item in stock and ready to ship immediately!
Couldn't load pickup availability

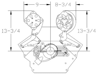
THIS BRACKET MOUNTS THE ALTERNATOR ON THE TOP DRIVERS SIDE OF THE ENGINE AND POSITIONS IT INSIDE OF THE DRIVERS SIDE VALVE COVER. YOU CAN SEE WHERE IT MOUNTS THE ALTERNATOR IN THE PICTURE AND DIAGRAM AT THE BOTTOM.
THIS BRACKET IS FOR USE WITH:
- BIG BLOCK CHEVY STANDARD HEADS - CYLINDER HEADS WITH 3/8" BOLT HOLES
- BBC SHORT WATER PUMPS
- GM 10SI OR 12SI ALTERNATORS
- THESE ALTERNATORS WERE POPULAR ON NUMEROUS GM VEHICLES FROM 1962-1994
- THEY HAVE A 2 BOLT MOUNTING PATTERN (ONE AT 12 O CLOCK AND ONE AT 6 O CLOCK) THAT MEASURE 168MM (OR 6.61") CENTER-TO-CENTER; SEE THE DIAGRAM BELOW
- WE HAVE A POLISHED VERSION OF THIS ALTERNATOR AVAILABLE EVEN IF YOU DO NOT PURCHASE THAT ALTERNATOR, THE DESCRIPTION LISTS ALL OF THE MANY GM VEHICLES THAT THIS MODEL WAS USED ON.
- V-GROOVE PULLEYS
BILLET SPECIALTIES INDEPENDENT ALTERNATOR BRACKETS ARE CNC MACHINED FROM 6061-T6 BILLET ALUMINUM AND POLISHED TO A MIRROR FINISH. THEY ARE INDEPENDENTLY ADJUSTABLE WITHOUT STABILIZER BARS FOR A CLEAN LOOK. MULTI-POINT FASTENING ENSURES STABILITY AND BELT TENSION.
YOU CAN VIEW AND DOWNLOAD THE INSTRUCTIONS FOR THIS BRACKET HERE.